G37 7speed transmission reprogram
Hey guys.
first time poster on the forum. Just got the new 2011 G37xS 7AT. I have been experiencing similar things that people have posted on the forum about the transmission. I have only 700 miles on it and I'm wondering if I should wait a little longer for the car to "break in" or if it matters if I take it in for service.
Im getting mixed reviews here so i'm wondering if anyone with the 2011 who had the reflash done can comment
also, what do i say to the dealer if they tell me nothing is wrong with the tranny but I want them to do the reflash. I hear some people hearing from the dealership that there's no such thing. Will they get upset or annoyed at me to bring this up?
thanks
first time poster on the forum. Just got the new 2011 G37xS 7AT. I have been experiencing similar things that people have posted on the forum about the transmission. I have only 700 miles on it and I'm wondering if I should wait a little longer for the car to "break in" or if it matters if I take it in for service.
Im getting mixed reviews here so i'm wondering if anyone with the 2011 who had the reflash done can comment
also, what do i say to the dealer if they tell me nothing is wrong with the tranny but I want them to do the reflash. I hear some people hearing from the dealership that there's no such thing. Will they get upset or annoyed at me to bring this up?
thanks
But isn't the "learning" process continual? Are we saying the car "learns" over a set period of time and sticks with that?
I would think that i it is "learning" it would do so over a most recent tme window, and average it. In other words, driving hard for 100 miles may help the next 10-20, but after another 100, isn't the first 100 just fun and wasted gas?
I would think that i it is "learning" it would do so over a most recent tme window, and average it. In other words, driving hard for 100 miles may help the next 10-20, but after another 100, isn't the first 100 just fun and wasted gas?
I give up. Yea that's one way.. have it average your most recent driving experience. I have a workaround though, I noticed if I talk in a Vin Desil accent with authority it shift's quicker. Try this... just yell "Shift Bieatch!" or "Hold ****** *****" when you want it to shift or hold a gear. Make sure you hit the voice recognition button first... it's an undocumented feature of the learning transmission. You can find these along with how this transmission actually works documented in the service manual above...
Hey guys.
first time poster on the forum. Just got the new 2011 G37xS 7AT. I have been experiencing similar things that people have posted on the forum about the transmission. I have only 700 miles on it and I'm wondering if I should wait a little longer for the car to "break in" or if it matters if I take it in for service.
Im getting mixed reviews here so i'm wondering if anyone with the 2011 who had the reflash done can comment
also, what do i say to the dealer if they tell me nothing is wrong with the tranny but I want them to do the reflash. I hear some people hearing from the dealership that there's no such thing. Will they get upset or annoyed at me to bring this up?
thanks
first time poster on the forum. Just got the new 2011 G37xS 7AT. I have been experiencing similar things that people have posted on the forum about the transmission. I have only 700 miles on it and I'm wondering if I should wait a little longer for the car to "break in" or if it matters if I take it in for service.
Im getting mixed reviews here so i'm wondering if anyone with the 2011 who had the reflash done can comment
also, what do i say to the dealer if they tell me nothing is wrong with the tranny but I want them to do the reflash. I hear some people hearing from the dealership that there's no such thing. Will they get upset or annoyed at me to bring this up?
thanks
I don't think reseting the ECU helps since the car is constantly monitoring your inputs so drive like how you want the car to perform and it will reward you. I don't think it does a good job at slow speed (ex. traffic) but that might just be the nature of the beast.
I had the reprogram done on my car at 5300 miles and now have driven 700 miles and I'm enjoying it. Its not like driving in snow mode as previously mentioned which feels very restrictive. I don't even use the snow mode in the snow. I think before the reprogram the car used to over react to the drivers inputs and after the reprogram the car is almost on the same page as the driver. Try to drive like Marc had described without the reprogram and if this doesn't work then bring it to the dealer.
I think the people that are having problems with the trans and the dealer is not helping should contact Infiniti Consumer Affairs (800-662-6200) and report the problem with the car and the dealer you go to. I did this since my dealer wasn't helping and ICA contacts the dealer and works things out. On top of that, your complaint also goes to Infiniti's Engineering department.
My dealer also had a problem with their consult III so make sure their equipment is working properly.
I had the rare chance to drive my G today, and I went through some twisties (twice) so the first time I tried it in D and the second in DS. Granted each time wasnt exactly the same, but there is definitely still a difference between D and DS. I do get SOME engine braking, but not as much as my loaner G (Im running under the assumption that my 2011 LE has the flash already installed, because it was soooo much different than the loaner car)
I agree with a couple posts back: the loaner felt like it was overreacting to my inputs. My car feels like its pretty much on the same page......to the point that I can get an RPM matched downshift in DS any time I try to. The loaner would give me an engine braking RPM matched downshift when I was pulling up to a stop light (the biggest issue that people seem to have that lead to getting this flash), Im sure some people like that, but thats not how I want my car to drive.
It also begs the question........does the car have separate learning modes for D and DS? Will DS get more aggressive if you hammer on the car in DS mode? That I dont know, my car is still in breakin miles (and what a pain that is, it wants to rev up!!!)
I agree with a couple posts back: the loaner felt like it was overreacting to my inputs. My car feels like its pretty much on the same page......to the point that I can get an RPM matched downshift in DS any time I try to. The loaner would give me an engine braking RPM matched downshift when I was pulling up to a stop light (the biggest issue that people seem to have that lead to getting this flash), Im sure some people like that, but thats not how I want my car to drive.
It also begs the question........does the car have separate learning modes for D and DS? Will DS get more aggressive if you hammer on the car in DS mode? That I dont know, my car is still in breakin miles (and what a pain that is, it wants to rev up!!!)
Let say I'm driver 1, wife is driver 2. Say the wife drive like a turtle and I drive like there is no tomorrow. Does the car get confused? Or the car is smart enough to know there are 2 drivers are react to each separately? After all, we each carry a different key.
Another question is, does the car have separate learning for driver 1 and driver 2?
Let say I'm driver 1, wife is driver 2. Say the wife drive like a turtle and I drive like there is no tomorrow. Does the car get confused? Or the car is smart enough to know there are 2 drivers are react to each separately? After all, we each carry a different key.
Let say I'm driver 1, wife is driver 2. Say the wife drive like a turtle and I drive like there is no tomorrow. Does the car get confused? Or the car is smart enough to know there are 2 drivers are react to each separately? After all, we each carry a different key.
Last edited by RedG37SNC; Feb 25, 2011 at 11:04 PM.
Can't they derive the speed of change in position from the position sensor? Simple mathematics. Then why 2 sensors? I don't get it. Is it because I understand their ID1OT logic?
Hey guys i dont have the rough shifts to the point some are describing but I have a weird stutter of throttle mainly in 7 th gear btw 40 and 60mph.
I documented the problem in this thread
https://www.myg37.com/forums/g37-cou...elerating.html
Do you guys think this could be fixed with this reflash??
I documented the problem in this thread
https://www.myg37.com/forums/g37-cou...elerating.html
Do you guys think this could be fixed with this reflash??
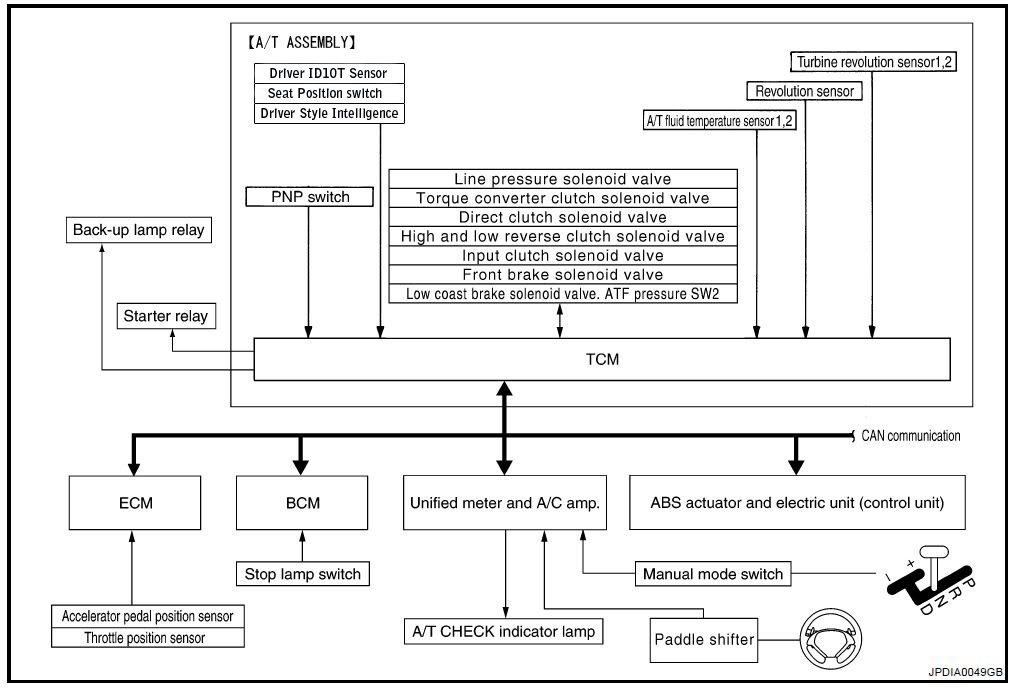
The accelerator pedal position sensor is installed on the upper end of the accelerator pedal assembly. The sensor detects the accelerator position and sends a signal to the ECM.
The Accelerator pedal position sensor has two sensors. These sensors are a kind of potentiometers which transform the accelerator pedal position into output voltage, and emit the voltage signal to the ECM. In addition, these sensors detect the opening and closing speed of the accelerator pedal and feed the voltage signals to the ECM. The ECM judges the current opening angle of the accelerator pedal from these signals and controls the throttle control motor based on these signals. Idle position of the accelerator pedal is determined by the ECM receiving the signal from the accelerator pedal position sensor. The ECM uses this signal for the engine operation such as fuel cut.
.
I have my dealership appointment setup for Friday 2/25 for the Infiniti ECU reflash/update.
*So far my experiences have been that driving with stock tuning there are definite dead spots in acceleration and at low speeds strange gear searching and abruptness in downshifts and acceleration when you step on the gas. These flaws are more so noticed in "D" mode than "DS".
*I also have had the experience of driving the car with Hypertech Power Tuning, which has helped throttle response in most situations as well as removing the stock 0-60 restriction which makes the car much more fun to drive when you really get on it.
* So now let's see what the Factory ECU reflash and/or Hypertech's patch to this update brings me.... I will post my follow-up experiences ASAP guys.
*So far my experiences have been that driving with stock tuning there are definite dead spots in acceleration and at low speeds strange gear searching and abruptness in downshifts and acceleration when you step on the gas. These flaws are more so noticed in "D" mode than "DS".
*I also have had the experience of driving the car with Hypertech Power Tuning, which has helped throttle response in most situations as well as removing the stock 0-60 restriction which makes the car much more fun to drive when you really get on it.
* So now let's see what the Factory ECU reflash and/or Hypertech's patch to this update brings me.... I will post my follow-up experiences ASAP guys.
*** UPDATE: Well Friday came and went, and although my car is eligible for the ITB10-075 ECU reflash I clued them on to, the dealership had a problem installing it so now I got the loaner till Monday. It's either that they really had a problem or they were super swamped and left me till the end of the day. We'll see.....
I did the reflash today at the Beijing dealer. They cannot give me an ITB reference number nor a date of the ITB. All they know is that the updated 7AT firmware version is 31039-X210E. After the reflash, I did some test driving with the master technician. Below is what I consider major improvements.
(1) The 1-2-3 and 3-2-1 jerkiness is almost gone. Car driving much more smoothly at speeds below 40MPH.
(2) Engine braking when stopping for a red light is greatly minimized.
(3) Bogging at 37MPH (59KPH) has improved a lot.
(4) Throttle response is faster and throttle is more easily controlled.
In general, a lot of the jerkiness and quirkiness of the 7AT is gone and I feel more confident to drive it in stop and go traffic.
(1) The 1-2-3 and 3-2-1 jerkiness is almost gone. Car driving much more smoothly at speeds below 40MPH.
(2) Engine braking when stopping for a red light is greatly minimized.
(3) Bogging at 37MPH (59KPH) has improved a lot.
(4) Throttle response is faster and throttle is more easily controlled.
In general, a lot of the jerkiness and quirkiness of the 7AT is gone and I feel more confident to drive it in stop and go traffic.


