Help License plate light bracket problem
License plate light bracket problem
I've looked around and have seen threads about a rusted out bracket but nothing specific to my issue. I noticed a week ago that the right side screw was missing for my license plate light bracket, but the left side was fine. I found some random screws and parts and tried different things until I settled on one that held the right side in securely.
Now a week goes by and the left side is missing. What is the actual fix for securing this? Are there supposed to be things placed on the other side which retain the screws?
Here's an image of the area with the bracket:

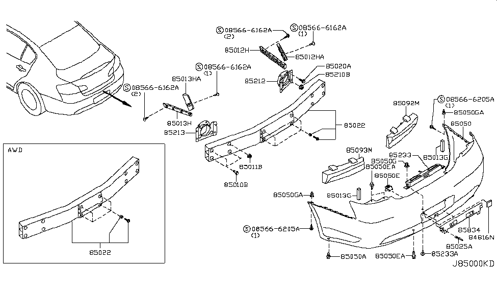
I found this but it seems to indicate I need two types of screws.. which doesn't really make sense:

EDIT: When I looked up the part numbers a little more, it seems like the "Grommet Screw" is not actually a screw at all... So maybe I need 2 of these (01281-00111) and 2 of the screws (01452-00131).
"Grommet Screw":
Now a week goes by and the left side is missing. What is the actual fix for securing this? Are there supposed to be things placed on the other side which retain the screws?
Here's an image of the area with the bracket:

I found this but it seems to indicate I need two types of screws.. which doesn't really make sense:

EDIT: When I looked up the part numbers a little more, it seems like the "Grommet Screw" is not actually a screw at all... So maybe I need 2 of these (01281-00111) and 2 of the screws (01452-00131).
"Grommet Screw":
Last edited by AnotherVQ; May 1, 2023 at 02:53 PM.
Okay I'm pretty sure I'm right and I'm going to order from discount infiniti parts, with my VIN and a note explaining why I'm buying these.. so they can confirm it's the right parts.
I'll update thread with results.
I'll update thread with results.
I've confirmed the part numbers are correct. Here's the image of it fixed:

For this assembly it takes two of part 01281-00111 and two of part 01452-00131. Once I took things apart (the rest of the way), I realized that the grommets (01281-00111) were already in there, but were black. They did seem a little weak/frail and since I already purchased those grommets I decided to just replace them.
The key is to make sure to take out both screws (if you even have two) to manuever the bracket. It seems like it can fall inside behind the bumper but I'm not sure. It fell and some of it went back there and I grabbed it before it could fall all the way. You can pull one end of it at a time out of the slot where it sits to gain access to the grommets, then just pinch them to remove. Snap the other grommets in, then put the bracket in place and screw new screws in.

For this assembly it takes two of part 01281-00111 and two of part 01452-00131. Once I took things apart (the rest of the way), I realized that the grommets (01281-00111) were already in there, but were black. They did seem a little weak/frail and since I already purchased those grommets I decided to just replace them.
The key is to make sure to take out both screws (if you even have two) to manuever the bracket. It seems like it can fall inside behind the bumper but I'm not sure. It fell and some of it went back there and I grabbed it before it could fall all the way. You can pull one end of it at a time out of the slot where it sits to gain access to the grommets, then just pinch them to remove. Snap the other grommets in, then put the bracket in place and screw new screws in.
Thread
Thread Starter
Forum
Replies
Last Post







